Product number:

PROD227

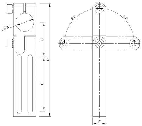
ACLS - Long Angle Clamp - Swivel Head

Roborex
From €35.90Available in stock
Files
Images
Specification

Material: Aluminium. 

Increased flexibility in component positioning. 
Heavy duty design ensures component stability.